
Газоанализатор предназначен для определения процентного содержания кислорода в техническом и медицинском кислороде и кислородосодержащих газовых смесях при контроле продукционного кислорода и при технологическом контроле работы воздухоразделительных установок.
Артикул: 1651
Характеристики | ||||
Объем бюретки | Диапазон измерения | Цена деления | Предел точности | Габаритные размеры |
100 мл | 0...10 мл | 0,1 мл | ±0,1 мл | 295х175х635 мм |
15...75 мл | 1,0 мл | ±1,0 мл | ||
85...95 мл | 0,2 мл | ±0,2 мл | ||
98...100 мл | 0,05 мл | ±0,05 мл |
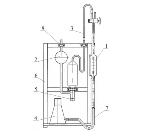
Комплект поставки:
- бюретка Гемпеля: 1 шт.
- пипетка Гемпеля: 1 шт.
- трубка соединительная: 1 шт.
- сосуд уравнительный: 1 шт.
- пробка резиновая: 1 шт.
- трубка резиновая: 0,3 м.
- штатив: 1 шт.
- скобы соединительные: 1 комплект.
Нет отзывов об этом товаре.
Нет вопросов об этом товаре.
Доставка заказов осуществляется в любые регионы Российской Федерации и страны СНГ.
Цены на нашем сайте указаны с учетом НДС (20% либо 10%).
Оплата заказов производится только в безналичной форме на расчетный счет в рублях Российской Федерации на основании выставленного Счета.
Для бюджетных организаций и государственных структур предусмотрены особые условия оплаты.
Постоянным клиентам предоставляются скидки и индивидуальный порядок расчетов.
Внимание! В связи с нестабильным курсом валют и изменением цен у производителей, просим окончательную стоимость продукции уточнять у наших менеджеров.
Варианты доставки:
Самовывоз со склада в городе Клин
Адрес выдачи: Московская область, г. Клин, ул. Захватаева, д. 4, офис 101
Контактный телефон: +7 (977) 407-05-96
Доставка по Клину и Клинскому району – бесплатно
Доставка по Москве – 1 500 рублей
Доставка любыми транспортными компаниями, службами экспресс-доставки. Стоимость рассчитывается индивидуально для каждого заказа в соответствии с установленными тарифами транспортной компании. Все грузы застрахованы.
Компания "КомплектСнаб является официальным поставщиком от производителя Химлаборприбор. Вы всегда можете получить бесплатную консультацию по продукции, получить КП и задать вопросы по подбору аналогов продукции.